前言
网络中的流量错综复杂,安全策略的部署不可能一蹴而就,而任何错误的操作都可能影响组织的正常工作,所有的安全人员都对此提心吊胆。在把防火墙接入网络之前,防火墙管理员最大的困惑是,如何开始配置防火墙安全策略,才能不影响业务运行?
实际上,有一种万无一失的方法,可以降低这种风险,保证业务零中断。
![图片[1] | 如何配置防火墙之如何开始部署安全策略 | 星尘资源网](/wp-content/uploads/2025/10/1759547031176_0.png)
01
适用范围
这个部署方法既适用于防火墙首次接入网络时初始部署安全策略,也适用于安全策略的优化。如果当前部署的某个安全策略不够精确(如指定了Any作为匹配条件),你可以参照这个方法来确定更具体的匹配条件。
通常情况下,安全策略中不指定用户、应用、URL分类、时间段是可以接受的。但是源/目的IP地址、源/目的安全区域、服务应指定具体的范围。
02
暑期培训注意事项
【1】确定防火墙在网络中的部署位置,并使用安全区域划分网络。你需要对照组网图,了解当前网络资源的分布情况,识别关键信息资产、服务及其安全等级。
【2】尽你所能了解当前网络中的运行的合法业务,建立白名单。业务白名单通常有以下几类。
【3】结合企业信息安全政策( )、用户组结构和业务白名单,确定通信矩阵和业务访问规则。
【4】类似的,尽你所能了解需要禁止的高风险应用和非法业务(企业信息安全政策禁止的服务),建立黑名单,确定业务禁止规则。
【5】首先在防火墙上创建一条允许所有流量的临时安全策略,并记录策略命中日志。
【6】根据前面识别的业务规则,在防火墙上为白名单和黑名单配置安全策略。调整顺序,使临时安全策略位于策略列表底部,缺省安全策略之前,如表1-1所示。这样,可以保证所有业务都能通过防火墙,不会影响业务运行。同时,未知业务会命中临时安全策略,并在日志中记录下来。
表1-1 临时安全策略示意
![图片[2] | 如何配置防火墙之如何开始部署安全策略 | 星尘资源网](/wp-content/uploads/2025/10/1759547031176_1.png)
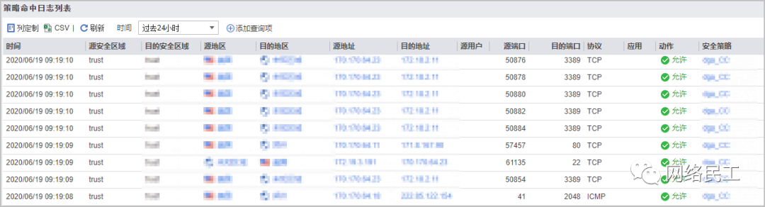
【7】分析策略命中日志,识别并判断业务的合法性和必要性,并添加新的、精确的安全策略。在分析策略命中日志时,重点关注业务的源/目的IP地址、源/目的安全区域、服务/端口,识别出同类业务。然后把策略命中日志中离散的IP地址合并为地址段,创建地址组,并在精确安全策略中引用。建议优先分析和处理命中次数最多的服务/端口或应用(如图1-1中的),这样可以快速减少日志的数量。
除了使用Web界面,你还可以从日志服务器查看策略命中日志,或者使用命令行 table " "。
![图片[3] | 如何配置防火墙之如何开始部署安全策略 | 星尘资源网](/wp-content/uploads/2025/10/1759547031176_2.png)
图1-1 策略命中日志列表
【8】把新添加的精确安全策略移动到临时安全策略的前面。
【9】清除临时安全策略的命中计数,继续观察和分析日志、添加精确安全策略,直到没有流量命中临时安全策略。根据网络业务复杂度的不同,这个过程可能需要几个小时,甚至几天。
【10】在确认网络中所有流量都得到了充分的分析以后,删除临时策略。
【11】分析放行业务可能存在的安全风险,为安全策略添加合适的内容安全配置文件。
![图片[4] | 如何配置防火墙之如何开始部署安全策略 | 星尘资源网](/wp-content/uploads/2025/10/1759547031176_3.gif)
2022
![图片[5] | 如何配置防火墙之如何开始部署安全策略 | 星尘资源网](/wp-content/uploads/2025/10/1759547031176_4.jpg)















请登录后查看评论内容